(1)技术领域
本设计涉及一种电磁制动器,尤其是一种用于脚踏板式刚性离合器新旧冲床的人身安全保护装置。
(2)技术背景
目前,被广泛使用的中小型冲床存在着生产安全保护方面的问题,而冲床安全保护器作为单一产品早在20世纪90年代初期就已出现在市场上。而当前市场上主要存在的该类产品有两种:一种采用在动力杆上安装快速电磁离合器实现制动,另一种则依靠动力轴上靠近动力轮处加装齿轮,用卡头卡主齿轮齿的方法来实现制动。但是经过实地考察及对冲床使用厂家的问卷调查,以浙江为例,发现实际使用这两种产品的冲床数占总冲床数的比例不足5‰。究其原因主要在于保护器的制动方面存在如下问题:
1、制动部件的制造成本高
对于齿轮式的保护器,制造齿轮的工艺技术要求高,而且为了能瞬间使惯性如此大的动力轴制动,对齿轮的材料强度要求很高,一般的材料实现不了,势必增加产品自身的制造成本。
2、齿轮式的保护器是冲床生产厂家自己在制造冲床时直接就做上去的一种新型的冲床,对于已有的正在使用中的冲床不合适。
3、灵敏度不高,影响工作效率
冲床上。通过对安装这种保护器的冲床进行观察发现,制动器在解除制动后,工人至少要连续踩两下踏板,才能使动力杆工作,影响了工作效率,而且一旦离合器出现故障,会影响冲床的正常工作,用户不能接受。
(3)发明内容
本实用新型旨在提供一种安全可靠、效率较高、安装简单、成本低廉的新型制动器——快速电磁制动器。
本实用新型设有电磁铁和吸盘,吸盘设于电磁铁的下方。
使用时,电磁铁安装在制动装置的脚踏板上方的冲床壁上:吸盘固定在脚踏板上,制动装置的拉簧的一端固定在脚踏板上,拉簧的另一端固定在冲床壁上。若吸盘自身的重量过大,对脚踏板造成的影响不能忽略时,则应将脚踏板上的拉簧倔强系数适当增大。
电磁铁最好设有壳体。
经试验,本实用新型与现有冲床安全保护器的制动部件相比有以下优点:
1、成本低:
本实用新型不仅结构简单,而且有些部件比如电磁铁是市场上很成熟的产品,更重要的是该实用新型的安装与维护简单方便。
2、不影响工作效率:
由于本实用新型是常开式的,在解除制动后,不影响冲床的正常工作,而且在该制动器出现故障时,也不会影响冲床的正常工作。
3、灵敏度高:
快速电磁制动器电路从通路到制动时间T≤15ms。
(4)附图说明
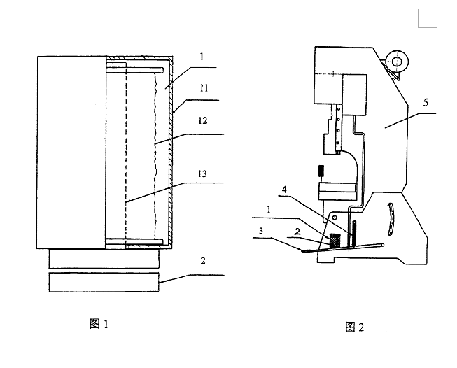
图1为本实用新型实施例的结构示意图。
图2为本实用新型实施例的使用示意图。
(5)具体实施方式
如图1、2所示,本实用新型由电磁铁1和吸盘2组成,吸盘2设于电磁铁1的下方。使用时,电磁铁1安装在制动装置的脚踏板3上方的冲床5壁上;吸盘2固定在脚踏板3上,制动装置的拉簧4的一端固定在脚踏板3上,拉簧4的另一端固定在冲床5壁上。电磁铁1设有一个壳体11,壳体11既保护了电磁铁1的线圈12和铁心13又便于安装,还可防止因意外漏电带来的危险。对于吸盘,为了便于安装,应根据脚踏板的形状做成合适的形状,而且应在实现所需功能的前提下,尽量减轻其重量。
本实用新型的工作过程是:当快速电磁制动器通电后,电磁铁1立刻产生磁力(磁力的大小应根据冲床的型号而定,一般在100~250N),吸引吸盘2,使脚踏板3不能动作,从而达到制动的目的。
说明书附图

更多电磁制动器信息请关注锋涵机电http://www.shfhjd.com