以下结合附图和一个非限制性实施例对本设计进行进一步详细说明。
图1和图2为本设计的一个最佳实施例的结构示意图,其中图1为主视图,图2为左视图。
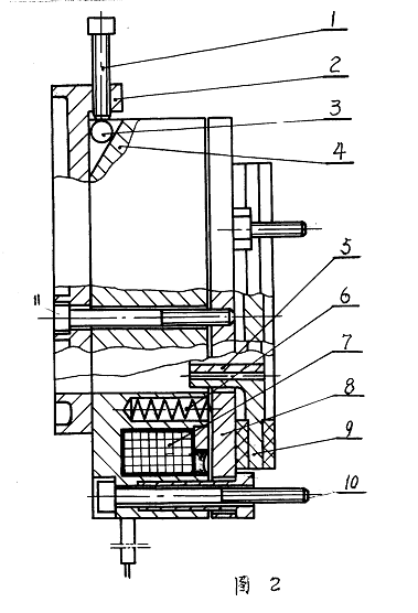
参照图1和图2,本设计所述的释放装置设在制动装置的磁轭4的背面,所述的释放板2呈琵琶状,其杆端弯曲延伸至磁轭4的外圆面处设有螺孔,孔内安放有调节螺钉1,钉头下磁轭4的背面设有斜槽12,槽内放置有钢珠3;所述的释放板2由两根穿越磁轭4的连接螺钉11与衔铁8固定连接;失电状态下,三只弹簧6始终作用于衔铁8,通过连接螺钉11将释放板2拉靠于磁轭4的背面,使钢珠3始终有向上滑动的趋势,保持与调节螺钉1的钉头接触。
本设计上述以外的实施方法与公知技术相同。
以下结合附图将本设计的安装使用方法作一简要说明。
参照图1,安装方法很简单,只要将动力设备的传动轴穿套在齿轮套5内,并用螺栓10将整个制动器固定于动力设备的外壳上即可。在线包7失电的制动状态下解除制动有两种方法可选择:其一是向下拧动调节螺钉1实现硬释放解除制动,其二是直接向左扳动调节螺钉1或向左拉动释放板2实现软释放解除制动。

