湿式多片摩擦式电磁离合器结合附图作进一步的详细描述。
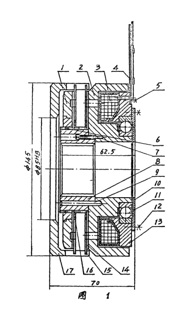
图1是本电磁离合器的结构剖视图
图2是本电磁离合器的引线板
图3是本电磁离合器与从动轴配合的花键孔
参照图1,齿轮套8,内孔拉成矩形花键。在其外圆上铣有渐开线齿,在其端面上均布了三个销孔,用销子9与磁轭铁芯2销紧。另外在其端面上还均布了三个销孔,用螺栓7与磁轭铁芯2紧固,具有同样齿形的内摩擦片14、带有隔磁套的磁铁1与齿轮套的渐开线齿啮合。内摩擦14、弹簧圈16、外摩擦片15、衔铁1,均平行放置在磁轭铁芯2的端面上,放置磁轭端面上的第一片摩擦片是内摩擦片14,接着放弹簧圈16、外摩擦片15,然后再放内摩擦片14,如此类推,但最后靠近衔铁1端面的摩擦片应是内摩擦片14,然后放置衔铁1、并用钢丝卡圈卡在齿轮套8上。将外摩擦片15的外圆上等分均布的六个槽与联结17的六个爪相啮合。本电磁离合器内摩擦片14为六片,外摩擦片15为五片,弹簧圈16为5片。
用纯铁制作的磁轭体,分成磁轭铁芯2和线圈铁芯13,在磁轭铁芯2上设有线圈槽,在其端面上打上八段互相贯通的隔磁孔,每段之间留有连接肋。磁轭铁芯2靠近线圈槽内侧的圆柱体加工出安装轴承的圆柱梯台。将轴承11的内套圈装在上面,磁轭铁芯2有图3所示的内孔,并有间隙与从动轴配合。
线圈铁芯13是用纯铁制作的空心圆柱体,内孔的一段与磁轭铁芯2的线圈槽内壁有0.1mm配合间隙,另一段的梯台外径与轴承11的外套圈配装,在线圈铁芯13的轴向端加工出圆柱面。线圈3的骨架一方面与线圈铁芯13的一段外圆面紧配装入,另方面在骨架与圆柱面之间涂有树脂胶胶牢。其中,线圈3的骨架用酚醛塑料制成。在骨架上绕漆包线600匝。线圈铁芯13留有轴向孔,导线从这里引出。并接在图2所示的引线板上,引线板与外部某一支承固定,电源从这里接入,所以不论磁轭铁芯2转动是否,线圈3和线圈铁芯13始终静止不动,当电磁离合器通电激磁时,吸动衔铁1,压紧摩擦片组,由外摩擦片15和联结17传递力矩,断电后磁力消失,摩擦片组在弹簧圈16的作用下,恢复原始状态。
