延续第五节,在第一侧板11f的两个外侧设有倾斜凸起11j。如图7b所示,当触头元件11的第一侧板11f的端部11f1和11f2达到壳体5a的槽5f的底部表面5f‘时,由于侧壁5f''和倾斜凸起11j之间相互接触,从而触头元件11产生变形,并使端部11f\的入口宽度与原始尺寸相比变窄了,从而可避免芯部导线6a''从切缝11g的窄的部分11i内脱出,通过这种方式,就可使外部导线6a的芯部导线6a’‘与触头元件11的切缝11g的窄的部分11i的侧边11i'、11i\保持可靠的接合。
图8示意出来切缝11g的宽的部分11h的另一种形状、宽的部分11h包括多个倾斜部分11h'和多个竖直部分。从切缝的入口到其内部,切缝的宽度逐渐并逐渐的减小,通过这种形状,多个倾斜部分逐渐和逐级地切人到外部导线的绝缘皮中,从而多个倾斜部分可较为容易地切入到外部导线的绝缘皮中。
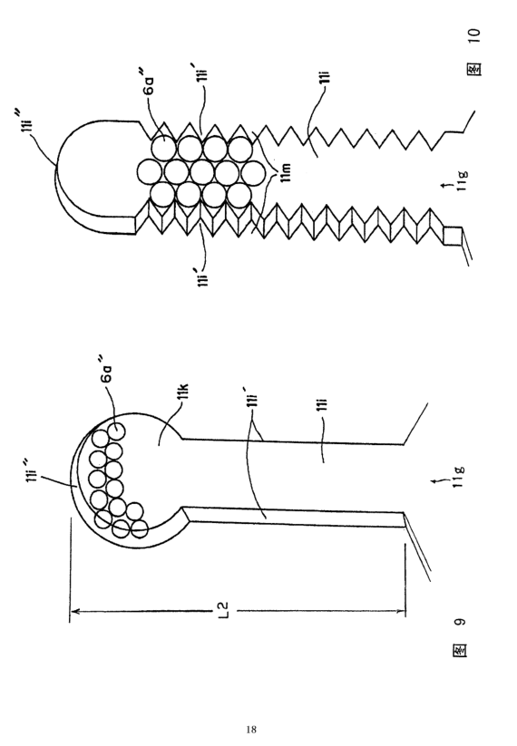
图9示意出力切缝的窄的部分的形状的另一个实施例,窄的部分的端部边缘处设有一个圆形延伸的空间。当芯部导线进入该空间时,芯部导线分布到该空间中,从而使芯部导线很难冲其中脱出。通过这种形状,可减小切缝的窄的部分的深度。
图10示意出了切缝的窄的部分的又一种形状。在两个侧板上设有锯齿,由于芯部导线与锯齿的多个齿尖相接触,因此,与先前相比,两者之间具有更大的接触面积,通过这种方式,可提高芯部导线与触头元件11之间电连接的可靠性。
图11示意出了切缝的窄的部分的另一种形状。在窄的部分的端部边缘设有指向切缝入口的齿。由于齿刺入到芯部导线中,因此,与前者相比,可在芯部导线和触头元件之间获得更大的接触面积。通过这种方式,可提高芯部导线与触头元件之间电连接的可靠性。
图12示意出了切缝的窄的部分的另一种形状,在窄的部分的入口部分处设有一对相对伸出的凸起,在芯部导线进入窄的部分之后,通过凸起的作用可防止芯部导线从其中脱出。通过这种形状,可使芯部导线牢牢地保持在切缝的窄的部分中。
总之,本设计的主要特点如下。通过本设计,可省去从外部导线的接线端部分上揭去绝缘皮的过程。通过本设计,还可省去嵌入传动压接触头的过程,且通过本产品,在一个过程中就可将外部导线、二极管引线以及线圈接线端部分三种都进行连接。
尽管上面结合优选实施例对本产品进行了详细的描述,但本产品并不局限于此。


