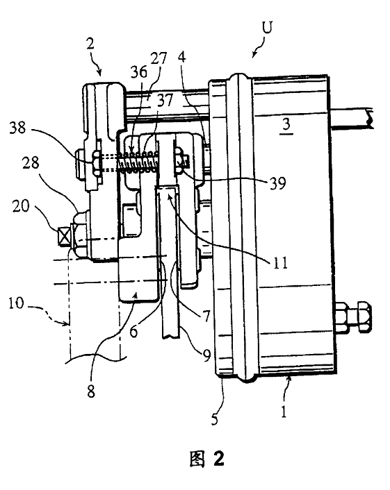
一对制动蹄片6和7的制动蹄片7通过一个向心联接器19附着在电磁部分1的可移动铁芯5的中心体上。另一个制动蹄片6通过一个调整螺钉20和一个向心联接器21附着在板体2的侧面上。
更进一步,一对复位弹簧22中每一个弹簧布置在制动蹄片6和支架8之间,制动蹄片7和支架8之间,弹簧连续地有弹性地向使制动蹄片6和7分开的方向推制动蹄片6和7。
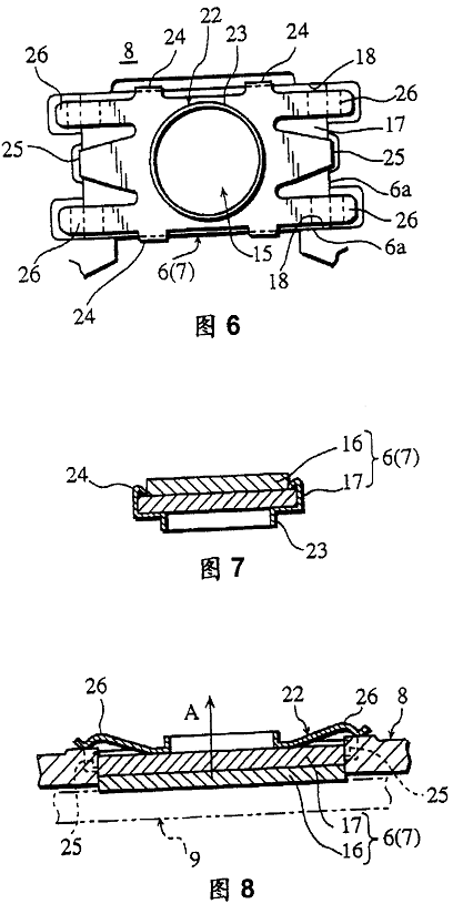
具体讲,复位弹簧22由一块钢板冲压而成,复位弹簧22的形状约为矩形,从其上伸出多个腿部分,并且在其中心具有一个短圆柱部分23(参考图6)。
中心联接器19或中心联接器21插入在短圆柱部分23中以滑动,上述多个腿部分中的四个是J形固定腿部分24,其紧紧地固定住矩形制动蹄片主体部分17的长边,腿部分中的两个是L形钩腿部分25和26,其钩住制动蹄片主体分部17的短边。
位于钩腿部分25(图6)的上面和下面的板弹簧部分26(共4部分)接触支架8外表面,分别向用箭头A表示的方向推制动蹄片6和7使之相互分开。为此,中心联接器19和21的凹凸接触面(位于凹球面和凸球面间)、调整螺钉20和中心联接器21的端面应保持没有小的间隙,从而在启动或停止制动时能有效地防止产生噪音。
下面通过参考图例进一步具体描述上述板体2等。板体2约为菱形,如图1所示,调整螺钉20附着在板体2的低端定点,导杆4分别位于板体2的左和右顶点,加强杆27位于上顶点。锁紧螺母拧在调整螺钉20上。
如图5所示,导杆4包括一个长螺栓29和一个圆柱体30。长螺栓29拧在固定铁芯3的螺纹孔31中,圆柱体30的两个端部分分别与固定铁芯3的沉孔和板体2的沉孔压入配合。
每个上述导杆4插入每个位于图4所示拱形支架8上侧两端的孔32中,孔32的内圆周面和圆柱体30的圆周面可以滑动。在图5中,由于插入在孔32中的滑动衬套33,滑动式平稳的。如上所述,包括电磁部分1、板体2和导杆4的U形单元附着在支架8上,并能进行微小尺寸的浮动。
加强杆27防止在制动蹄片6和7向使菱形板体2的上顶点和电磁部分1间的距离减少的方向压制动体9时,板体2由于强反作用力(向箭头A方向)而掉下来。换句话说,加强杆27的一个作用是作为支柱。
小突出部分34分别位于图1菱形板体2左顶点和右顶点上,另一方便,与小突出部分34类似的小突出部分35分别位于图4支架8上侧的左端部和右端部。螺纹孔35a形成于小突出部分35上。


更多详情请浏览电磁制动器第四节http://www.hbhjcd.com/XYZX/257.html