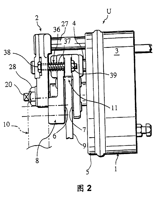
如上所述,U形单元附着在支架8上,能进行微小尺寸的浮动,也就是说,能够移动图2、图3和图5所示的微小缝隙B1和微小缝隙B2,提供了一个推动板体2使其与支架8分开的(在图2中向右方)弹性元件36。在图2中,弹性元件包括压缩的螺旋弹簧。
进一步,提供了调整板体2使其在(上述)分开方向上不要过度移动的调整元件37。在图2中,调整元件37包括一个拧在前述螺纹孔35a中的螺栓38和螺母39(用于锁紧)。
如上所述,把U形单元置于中心是通过弹性元件36和调整元件37完成的,而且制动蹄片6和7的制动衬片部分16和制动蹄9间的气隙(未制动时)可调节。
特别是,这里有一个优点,即如图2所示,当弹性元件36和调整元件37通过把螺栓38插入到压缩的螺旋弹簧来紧密地结合一起时,可以获得结构简化和成本降低。而且,尽管U形单元在浮动状态可能倾向重的电磁部分1一侧,并且制动衬片部分16可能不均匀地解除制动体9如制动盘(滑动于其上),因为电磁部分1的重量与板体2相比很重,上述的弹性元件35创造性地把板体2推向使板体2与固定支架8分开的方向而保持U形单元的平衡。
根据本发明的电磁制动器,板体2和导杆4可以减少尺寸和减轻重量,因为制动时来自制动体9的切向力F1通过制动力承受支架8承受,而不传递到板体2和导杆4上。并且,可以省去传统大体积卡钳块(参考图9和图10的标记61),可以获得结构简化并紧凑成一个整体。特别是,可以减少图2和图3的水平尺寸。
并且,不会产生向心联接器21和调整螺钉20的凹凸接触面缝隙,可以减少启动和停止制动的工作噪音。因为缝隙被最小化,电磁部分1的电磁力可以被完全利用。并且,向心联接器19和21可以很薄并且具有简单的结构。
进一步,通过简单的制动器结构可以确保使U形单元置于中心。特别是,制动衬片部分均匀地接触制动体9,因为由于电磁部分1比板体部分2重造成的重量不平衡可以通过使用弹性元件36而减少,使得U形单元位于制动体9的中心。尽管在本说明书中描述了本发明的优选实施例,但应理解为,本发明是说明性的而不是限制性的,因为在本发明的精神实质和必要特性范围内可进行各种变化。


