和现有技术相比,本发明具有以下有益效果:
1、由于制动片与制动面之间的制动摩擦力作用方向经过制动臂的转动轴心,因此,不会对制动器固定铁芯产生附加力矩;
2、体积小、结构简单;
3、手动松闸和手动盘车能同时进行。
附图说明
附图1是本发明的一种结构示意图;
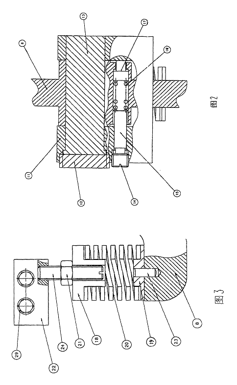
附图2是本发明制动闸瓦的示意图;
附图3是本发明制动弹簧的示意图。
其中,1为电磁铁;2为可动铁芯;3为复位弹簧;4为导磁环;5为线圈;6为微动开关;6a为微动开关打板;7为球头螺钉;8为制动臂;9位凸轮杆;10为手动松闸杠杆;11为制动闸瓦;12为闸瓦外螺母;13为闸瓦销轴;14为紧定螺钉;15为闸瓦下顶块;16为闸瓦弹簧;17为闸瓦上顶块;18为弹簧安装座;19为弹簧安装座;20为制动弹簧;21为螺母;22为制动弹簧安装板;23为圆柱销;24为制动弹簧紧定螺钉;25为固定元件;26为固定元件的凸起;27为固定元件的另一凸起;28a和28b为电磁铁安装螺钉;29为制动弹簧安装板固定螺钉;30为缓冲橡胶;31为电磁铁端盖;32为制动片;33为制动面;34为盘车空间位置。
具体实施方式
下面结合附图和实施例对本发明作进一步描述。
如图1所示,本发明制动器电磁铁内部结构由可动铁芯2、复位弹簧3、导磁环4、线圈5、凸轮杆9和缓冲橡胶30组成,可动铁芯2外凸与球头螺钉7连接,球头螺钉7和制动臂8连接。
制动器电磁铁1通过电磁铁安装螺钉28a和23b连接固定元件25外表面,且被固定元件25支撑。由图1可知制动器电磁铁1的拆卸方便。


更多详情请浏览内胀式电磁制动器第三节